pp酸堿儲罐
產品分類: 酸槽儲罐水箱
無錫泛普環保有限公司專業從事pp塑料容器加工,主要產品有pp酸儲罐和pp堿儲罐,提供pp酸儲罐和pp堿儲罐的加工定製服務,pp酸儲罐和pp堿儲罐有立式和臥式兩種結構,具有較好的耐酸堿腐蝕能力,容積0.5m³-80m³均可定製。
訂購熱線:133 7621 7639
立即谘詢產品詳情
pp酸堿儲罐產品簡介
無錫泛普環保有限公司專業從事塑料設備加工,容器類產品有:pp酸堿儲罐、pp計量箱、pp攪拌罐等,其中pp酸儲罐和pp堿儲罐是泛普環保核心產品,可用於化工,石油、醫藥、食品、油脂、印染、冶金、環保、輕工等行業生產中酸、堿物料的貯存、計量、分配等。
pp酸堿儲罐材質說明
pp酸堿儲罐,采用的是pp塑料板材加工而成,具有耐酸堿、抗腐蝕性能。具有良好的化學性能,由於pp酸堿儲罐的性能在同等使用條件下均好於其他材質製造的儲罐,pp酸堿儲罐廣泛用於工業生產中。
pp酸堿儲罐貯存介質
pp酸堿儲罐具有優良的耐化學腐蝕性,對於無機酸、堿、鹽(氧化性介質除外)都具有較好的耐腐蝕性。常見的pp酸堿儲罐可以盛放包括:稀硫酸、鹽酸、氫氟酸、雙氧水、磷酸、氨水等。
pp酸堿儲罐性能特點
- pp酸堿儲罐操作壓力:常壓
- 操作溫度:PP -10~120℃
- 耐腐蝕性強、操作方便、使用壽命長
- 重量輕:對設備的運輸、安裝、維修均比較有利
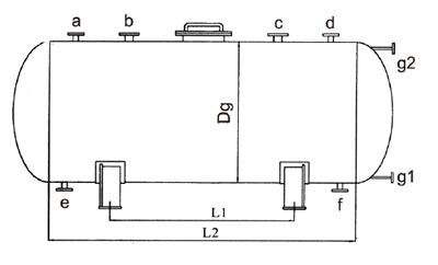
pp酸堿儲罐外形結構
pp酸堿儲罐的結構形式分為立式和臥式兩種,其中立式又分為掛耳立式和平底立式。

pp酸堿儲罐管口用途
- a.進料口
- b.進料口
- c.放空口
- d.備用口
- e.出料口
- f.出料口
- g.液位口(g1/g2)
pp酸堿儲罐型號規格
| 公稱 容積 M3 | Dg | L2 | L1 | a | b | c | d | e | f | G1 | G2 | 入孔 |
| 0.5 | 600 | 1600 | 1000 | 40 | 25 | 25 | 40 | 40 | 40 | 20 | 20 | |
| 1 | 800 | 1800 | 1200 | 50 | 25 | 25 | 50 | 40 | 40 | 20 | 20 | 400 |
| 2 | 1200 | 1800 | 1200 | 50 | 40 | 40 | 50 | 50 | 50 | 20 | 20 | 400 |
| 3 | 1200 | 2500 | 1900 | 50 | 40 | 40 | 50 | 50 | 50 | 20 | 20 | 400 |
| 4 | 1400 | 2500 | 1800 | 65 | 50 | 50 | 65 | 50 | 50 | 20 | 20 | 400 |
| 5 | 1400 | 3000 | 2300 | 65 | 50 | 50 | 65 | 50 | 50 | 20 | 20 | 400 |
| 6 | 1600 | 2700 | 1900 | 80 | 50 | 50 | 80 | 65 | 65 | 20 | 20 | 400 |
| 8 | 1800 | 2800 | 1900 | 80 | 65 | 65 | 80 | 65 | 65 | 20 | 20 | 400 |
| 10 | 1800 | 3000 | 2900 | 80 | 65 | 65 | 80 | 65 | 65 | 20 | 20 | 400 |
| 12 | 1800 | 4200 | 2300 | 80 | 65 | 65 | 80 | 65 | 65 | 20 | 20 | 400 |
| 15 | 2200 | 3600 | 2500 | 100 | 80 | 80 | 100 | 80 | 80 | 20 | 20 | 500 |
| 20 | 2200 | 4800 | 3700 | 100 | 80 | 80 | 100 | 80 | 80 | 20 | 20 | 500 |
| 30 | 2600 | 5000 | 3700 | 100 | 100 | 100 | 100 | 80 | 80 | 20 | 20 | 500 |
| 40 | 2600 | 6900 | 100 | 100 | 100 | 100 | 80 | 80 | 20 | 20 | 500 | |
| 50 | 2800 | 7400 | 100 | 100 | 100 | 100 | 80 | 80 | 20 | 20 | 500 | |
| 60 | 2800 | 9000 | 100 | 100 | 100 | 100 | 80 | 80 | 20 | 20 | 500 | |
| 80 | 3000 | 10500 | 120 | 100 | 100 | 120 | 80 | 80 | 20 | 20 | 500 | |
| 100 | 3200 | 11500 | 120 | 100 | 100 | 120 | 80 | 80 | 20 | 20 | 600 |
pp酸堿儲罐的強度如何
使用壽命和抗衝擊是普通玻璃鋼儲罐的三倍以上,在相當大的範圍內可取代不鏽鋼、鎳、鈦等金屬儲罐,是當今最佳、最實用的新一代高效化工液體耐腐蝕儲存設備。無錫泛普環保有限公司生產的pp酸堿儲罐質量在國內同行業中處於領先水平。
pp酸堿儲罐周邊配套設備
pp酸儲罐和pp堿儲罐周邊需要配套輔助設備,從環保角度講,pp酸儲罐頂部的呼吸口需要配置酸霧吸收器,用於處理在向儲罐內注酸時,儲罐頂部呼吸口揮發的酸霧廢氣;pp堿儲罐需要安裝二氧化碳吸收器,為了保持堿液的純度,防止堿液與空氣接觸,吸收空氣中的二氧化碳氣體,是的堿液純度下降。
推薦資訊
- 2023-02-21無錫PP塑料水箱加工
- 2023-02-17pp堿洗塔的用途是什麼
- 2023-02-1510000m³/h風量噴淋塔直徑做多大?
- 2023-02-14什麼是酸霧吸收器
- 2023-02-13pp噴淋塔使用壽命多少年?
- 2023-02-13活性炭吸附箱炭層厚度要求
- 2023-02-11噴淋塔配套風機如何選擇?
- 2023-02-11Falasuye法拉pp塑料板材加工
- 2023-02-11硫酸儲罐吸濕器如何安裝?
- 2023-02-11上海蘇州PP塑料板雕刻開孔焊接加工
- 2023-02-11一款不用水噴淋的酸霧吸收器
- 2023-01-19什麼是噴淋塔
- 2023-01-19噴淋塔結構說明
- 2023-01-18pp塑料防腐水箱加工
- 2023-01-16氨氣吸收塔用哪種材質
- 2023-01-16如何定製pp吸風罩
推薦方案
-
實驗室尾氣如何處理
實驗室尾氣如何處理?泛普環保專業從事實驗室尾氣處理,提供實驗室尾氣處理的方案設計、設備製造及安裝服務。實驗室尾氣處理主要分析尾氣收集方式、尾氣的汙染因 -
通風櫥酸氣處理方案
wuxifanpuhuanbaozhuanyecongshishiyanshitongfengchusuanqichuli,shengchantongfengchusuanqichulishebei,tongguoanzhuangxiaoxingtongfengchusuanqichulishebeijiejuetongfengchusuanqichuliwenti,jiejueleshiyanguochengzhongtongfengchuneisuanqihui -
實驗室廢氣處理
無錫泛普環保有限公司專業從事實驗室廢氣處理,提供實驗室廢氣處理方案設計、廢氣處理設備製作以及實驗室廢氣處理配套PP風管安裝,實驗室廢氣主要來自通風櫥、 -
汙水池加蓋廢氣收集處理
無(wu)錫(xi)泛(fan)普(pu)環(huan)保(bao)有(you)限(xian)公(gong)司(si)專(zhuan)業(ye)從(cong)事(shi)汙(wu)水(shui)池(chi)加(jia)蓋(gai)廢(fei)氣(qi)收(shou)集(ji)處(chu)理(li),對(dui)汙(wu)水(shui)處(chu)理(li)區(qu)域(yu)加(jia)蓋(gai)密(mi)封(feng)廢(fei)氣(qi)收(shou)集(ji)後(hou)通(tong)過(guo)風(feng)機(ji)引(yin)到(dao)廢(fei)氣(qi)淨(jing)化(hua)塔(ta)內(nei)處(chu)理(li)後(hou)排(pai)放(fang),泛(fan)普(pu)環(huan)保(bao)提(ti)供(gong)汙(wu)水(shui)池(chi)加(jia)蓋(gai)廢(fei)氣(qi)收(shou)集(ji) -
皮革加工車間廢氣處理
無錫泛普環保有限公司采用噴淋塔及生物除臭滴濾塔的工藝解決皮革加工車間惡臭廢氣,皮革加工車間惡臭主要來源於皮毛庫,水場及汙水處理站,主要廢氣為硫化氫,氨 -
酸洗廢氣處理
無錫泛普環保有限公司專業提供酸洗廢氣處理,酸洗廢氣處理首選需要計算風量,根據酸洗廢氣的風量來設計噴淋塔、PP管路以及風機和加藥係統,酸洗廢氣處理煙囪需 -
硫酸霧廢氣處理
無錫泛普環保有限公司專業從事硫酸霧廢氣處理,采用水噴淋加藥吸收原理,在噴淋塔的填料層噴入一定濃度的堿溶液,發生酸堿中和反應,處理硫酸酸霧廢氣後達標排放 -
硝酸霧黃煙處理
無錫泛普環保有限公司專業從事硝酸霧黃煙處理,采用噴淋塔原理,前端設計pp吸風罩收集硝酸霧黃煙,通過風機將硝酸霧黃煙廢氣引到噴淋塔內加藥處理,硝酸霧黃煙
熱銷產品
文章排行
聯係我們
- 無錫泛普環保有限公司
- 電話:133 7621 7639
- 傳真:0510-8783 1051
- 郵箱:
- 地址:無錫市宜興市高塍鎮環保城11幢16號












